齿轮减速机齿轮试验台的基本原理与结构
您当前的位置: 博客星空外围权威网 > 详细内容齿轮减速机齿轮试验台的基本原理与结构
很多时候我们都提到齿轮减速机齿轮加工方式,齿轮减速机中齿轮的重要性等,那齿轮减速机中齿轮的质量是怎么去判定去检测的呢?下面我们来了解一下:
齿轮减速机齿轮试验台的基本原理与结构
齿轮试验台种类繁多。按照加载方式可分为机械的、液压的、电气的三种。按试验台试验的项目又可分为轮齿弯曲疲劳、齿面接触疲劳、效率、.润滑、噪音、磨损、胶合以及两种以上的综合试验台,按传递的力能流可分为开式的和闭式的两种。开式试验台中,试验齿轮传递的能量,全部通过加载器转化为热能而损耗。闭式试验台中,试验齿轮传递的能量形成环形力流,在试验过程中,原动机只需克服运转中的摩擦损耗即可。因此,所耗能量要比前者少得多。下面分别简要介绍开式和闭式齿轮试验台的原理与结构。
开式试验台,由驱动试验台的原动机1、被试验的齿轮箱2和加载器3组成。如图8-1所示。齿轮的试验负载力矩T,施加在齿轮箱输出轴上。在试验运转过程中,原动机发出的驱动力矩Tm应满足以下关系式:

流电动机,也可采用其它发动机。 加载器有机械的(图8-2)、水力的(水力测功器)、电力的和电磁涡流的(图8-3),前三种测功器是常见的,此处不再赞述,下面主要介绍电磁涡流式测功器。

电磁涡流式测功器的结构,如图8-3所示。与试验齿轮箱输出轴相联的轴3上,装有高导磁率的钢制转子(感应器)
2。转子外圆上铣成矩形齿,最有利的齿数是6-8个,在转子齿宽方向的正中间开有环形凹槽。轴3支承在固定的机,架上。在转子外围装有定子1,在定子的槽内绕有环形的激磁线圈5,并用三个非磁性材料制成的夹子固定,其位置恰在凹槽内。定子平衡地安装在轴3上,可自由转动,并通过杠杆和台秤相联显示出压力,即可计算扭矩。

电磁一涡流测功器的工作原理是:当激磁线圈与直流电源接通后,产生磁通,使转子(感应器)含有磁性。由于转子的齿顶和定子之间的间隙很小(十分之几毫米),齿槽和定子之间的间隙很大(几十毫米),因此,磁通经过转子的矩形齿与定子形成了闭合回路。转子内磁通量的大小取决于激磁线圈的匝数,而电流大小,与转子是否转动无关。转子转动时,定子内表面每一点的磁通量都在变化:当某点的位置与转子的齿相对时,磁通量最大,而与转子的W相错时,磁通量最小。由于磁通量的变化,在定子内产生涡流,而涡流的力场阻碍着转子的旋转,于是在转子上产生阻力矩,即试验齿轮箱的负载力矩。由于磁场的相互作用,转子也对定子作用叮个扭矩,此扭矩与阻力矩大小相等,方向相反而前者可以通过杠杆和台秤测出。
感应产生的涡流使定子发热,所以在定子内要不断通入冷却水。带有热量的水经定子的纵向孔,最后从阀4逸出。
负载力矩的调节,靠改变激磁电流来实现。转子和定子内的磁通量随激磁电流的增大而增大,磁通量增大,定子中涡流也随之增大,则阻止转子转动的力矩也就增大。
这种测功器的特点是结构简单,便于制造。它只有同功率电力测功器(包括供电机组)重量的十分之一。占地面积也小。在工作性能上,低转速时,有较大的制动力矩,制动效果好,高转速时,可达到很大的制动功率。负载调节很方便,只要改变定子中的电流强度即可。因此,可实现试验负载的程序控制和自动调节。
(二)闭式试验台的原理与结构
1.工作原理
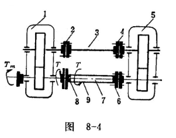
闭式试验台,是由两台中心距和传动比相同的齿轮箱(见图8-4中的1和5),用传动轴3,弹性轴7和联轴节2、4、6、8相连结,形成一封闭系统。施加载荷时,松开加载联轴节8的联接螺钉,施加外力矩,使弹性轴产生扭转变形,然后锁紧联轴节8上的联接螺钉,也就是锁住了弹性轴7的扭转变形。在这·个封闭系统内,由弹性轴变形而产生的封闭载荷,它只能使啮合轮齿之间产生一定的啮合力而并不带动它们运转。换句话说,加载机构只是把力施加于系统之内,但并未对系统做功。当试验台运转时,电动机输出的功率比开式试验台小得多,仅需用来克服试验台整个系统的内摩擦损耗,这些损耗包括啮合损耗、搅油损耗、轴承损耗、联轴节损耗和弹性轴上的损耗等。不过,后两项损耗极为微小,可略而不计。闭式试验台驱动电机的功率,约为封闭系统传递功率的4~10%,其数值与啮合付的效率、润滑油粘度和加载器的转动惯量等有关,因此,闭式试验台所消耗的功率比开式试验台节约得多。下面分析一下闭式试验台系统中功率流动的情况。
众所周知,功率流动的方向,总是由功率最大的地方流向功率最小的地方。对于齿轮传动来说,总是由主动轮驱动被动轮。一个齿轮是主动轮还是被动轮,要看作用于齿轮轴上的扭矩方向和齿轮旋转的方向是否一致而定。方向一致的.为主动轮,不一致的为被动轮。从啮合面来看,也能区别主动轮与被动轮,主动轮总是以顺着齿轮旋转方向的前侧面为啮合面,而被动轮却以顺着齿轮旋转方向的后侧面为啮合面。

上一篇:具有时代特点的早期齿轮
下一篇:接触区沿轴向移动的齿轮

粤ICP备11012611号
